Η Yamaha ελπίζει να κάνει μια ηλεκτρική μοτοσυκλέτα να ακούγεται και να δονείται σαν μια μοτοσυκλέτα με βενζινοκινητήρα, με έναν «ψεύτικο κινητήρα» που εισάγει και εξάγει καθαρό αέρα.
Η γοητεία μιας μοτοσυκλέτας είναι η εμπειρία των αισθήσεων, ενώ ο ήχος, οι δονήσεις μαζί με την εμφάνιση που έχουν οι μοτοσυκλέτες με κινητήρα εσωτερικής καύσης, κάνουν τους αγοραστές να έχουν μεγαλύτερη προτίμηση σε αυτές και λιγότερη για τις νέες ηλεκτρικές. Στις μοτοσυκλέτες με κινητήρα, υπάρχει μια πιο άμεση σύνδεση και νιώθεις πως είσαι μέρος της, προσφέρουν κάτι διαφορετικό και όλη η μηχανική κίνηση που κρύβεται εσωτερικά, ενθουσιάζει περισσότερο από αυτά που συμβαίνουν σε μία ηλεκτρική, ενώ ο θόρυβος έρχεται να επιβεβαιώσει ότι συμβαίνουν πολλά πράγματα σε κάθε στιγμή.
Οι ηλεκτρικές μοτοσυκλέτες έχουν αρχίσει να καταλαμβάνουν ένα μερίδιο της αγοράς κυρίως για αστική χρήση. Δεν ακούγονται σχεδόν καθόλου, πέρα από τον ήχο του ηλεκτροκινητήρα και ίσως των γραναζιών, ενώ αυτός ο ήχος είναι επίσης αρεστός σε ορισμένα δυνατά μοντέλα, αλλά και πάλι δεν συγκρίνεται με τον ήχο των βενζινοκίνητων.
Η Yamaha, όμως, δεν θέλει να χάσει αυτά τα χαρακτηριστικά που κάνουν μια μοτοσυκλέτα τόσο «ζωντανή». Θέλει η ηλεκτρική της μοτοσυκλέτα να «μοιάζει» σαν να είναι βενζινοκίνητη. Γι’ αυτό και μόλις κατοχύρωσε μία πατέντα που έχει μεγάλο ενδιαφέρον.
.jpg)
Η πατέντα έχει τον τίτλο “Saddle-Riding Type Electric Vehicle” και αρχικά δεν λέει πολλά για να αποδείξει την ιδέα. Όμως, αυτό που ακριβώς σχεδιάζει η Yamaha, αρχίζει να γίνεται ενδιαφέρον σύμφωνα με την περίληψη της πατέντας:
«Καίγοντας ένα μείγμα ορυκτών καυσίμων, βενζίνης και αέρα στον κύλινδρο, ένας τετράχρονος εμβολοφόρος κινητήρας παράγει ισχύ, ήχο εισαγωγής, ήχο εξαγωγής και δονήσεις σε κάθε φάση της λειτουργίας (εισαγωγή, συμπίεση, ανάφλεξη, εξαγωγή). Ο οδηγός ενός δίτροχου οχήματος που κινείται από έναν τέτοιο κινητήρα, ενθουσιάζεται βιώνοντας τον ήχο και τις δονήσεις που προκαλεί η δική του επιτάχυνση».
Και συνεχίζει:
«Το ηλεκτρικό δίτροχο όχημα, που κινείται με ηλεκτροκινητήρα, δεν καίει βενζίνη, άρα δεν παράγει ήχους εισαγωγής, εξαγωγής και δονήσεις όπως οι συμβατικοί εμβολοφόροι κινητήρες. Επομένως, κάποιοι λάτρεις τέτοιων οχημάτων συμφωνούν με τη μείωση των εκπομπών CO₂, αλλά επιθυμούν να βιώσουν τον ήχο και τις δονήσεις ενός εμβολοφόρου κινητήρα».
Και κάπου εδώ γίνεται πραγματικά ενδιαφέρον:
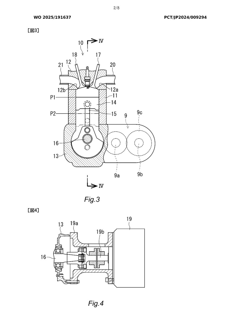
«Έτσι, παρουσιάζεται ένας ηλεκτροκινητήρας ο οποίος μοιάζει με συμβατικό εμβολοφόρο κινητήρα. Ο κινητήρας αυτός περιστρέφει έναν στρόφαλο, κινώντας ένα "πιστόνι" πάνω-κάτω μέσω ενός γραμμικού μοτέρ. Επίσης, εισάγει αέρα από βαλβίδες εισαγωγής και εξάγει από βαλβίδες εξαγωγής καθώς το "πιστόνι" κινείται».
.jpg)
Με απλά λόγια, η Yamaha πρόσθεσε έναν ψεύτικο αλλά λειτουργικό κινητήρα ως προς την κίνηση του εμβόλου σε μια ηλεκτρική μοτοσυκλέτα, ώστε να παράγει τουλάχιστον τον ήχο εισαγωγής και εξαγωγής και να έχει δονήσεις από την κινούμενη μάζα, προσομοιώνοντας μέρος της λειτουργίας του.
Εδώ έρχεται και το ερώτημα του βάρους και του κόστους, αλλά και το γιατί όλα αυτά. Από τη στιγμή που δεν είναι λειτουργικός, δεν έχει νόημα να υπάρχει. Η πατέντα όμως κατοχυρώνει την ιδέα και αν κάποιοι αγοραστές θελήσουν αυτή τη συγκεκριμένη μοτοσυκλέτα, θα υπάρχει και θα είναι της Yamaha.
Και η ιδέα της Yamaha ταιριάζει με κάτι ακόμα το οποίο έχει ήδη έτοιμο για την παραγωγή, την υβριδική μοτοσυκλέτα που μπορεί να κινηθεί μόνο με την ηλεκτρική ενέργεια. Όπως και στα υβριδικά αυτοκίνητα, έτσι και οι υβριδικές μοτοσυκλέτες μπορούν να κινηθούν μόνο με τη χρήση της μπαταρίας εντός πολλών Ευρωπαϊκών πόλεων όπου υπάρχει απαγόρευση της χρήσης του βενζινοκινητήρα. Ο βενζινοκινητήρας σε αυτή την περίπτωση δεν λειτουργεί και εδώ η Yamaha κάνει τη διαφορά, βάζοντας σε «λειτουργία» τον «κινητήρα» και τραβώντας τα βλέμματα από όπου και αν περάσει αυτή η νέα μοτοσυκλέτα της.
Με τον ήχο της εισαγωγής και της εξαγωγής, τις δονήσεις ανάμεσα στα πόδια – αλλά χωρίς να καίει βενζίνη – ίσως τελικά πείσει περισσότερους να κάνουν τη μετάβαση στην ηλεκτροκίνηση με ένα ιδιαίτερο στυλ, αλλά και χιούμορ. Είναι κάτι το ιδιαίτερο και θα έχει μεγάλο ενδιαφέρον να βγει στην παραγωγή, μιας και η κατοχύρωση της πατέντας έχει αυτόν τον σκοπό. Θα αφήσει πολλά ερωτηματικά από όπου και αν περάσει σε όσους δεν θα έχουν διαβάσει ή ακούσει κάτι για αυτή την πατέντα.









.png)

